| 文件编号 | 1655 | 软件语言 | 简体中文 | 运行环境 | Win98, Win2000, WinXP |
| 文件大小 | 198K | 整理日期 | 2012/2/6 | 下载次数 | 2447次 |
| 下载地址 | 点击下载(登录后才可以下载) | ||||

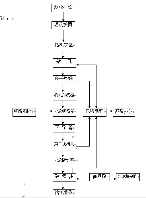
1.2施工方法及技术措施
1.桩位放样
根据提供的放样控制点及高程控制点引测至工程场区,然后请甲方监理验收后再进行轴线和桩位放样,放样结束后请监理进行验收,将验收结果形成文件。轴线放样允许偏差为≤
2.护筒埋设及泥浆循环系统的建立
①护筒有足够强度且不漏水;护筒埋设深度应穿过杂填土
②护筒内径比桩径大
③护筒埋设采用十字对中法进行校核,护筒中心与桩位中心偏差不大于
④泥浆循环系统根据场地条件合理布局。
3.成孔、清孔
①钻机就位:校正机身,使机杆垂直,磨盘水平,机身平稳,立轴中心和磨盘中心或十字线中心对正,偏差不大于
②泥浆护壁:根据工程勘察报告提供的土质条件,采用孔内自然造浆法护壁。
a.泥浆控制指标:本工程的主要土层为淤泥质粉质粘土、粉细砂。 一般要求泥浆粘度为18-22s,含砂率<6%,胶体率不小于95%,在淤泥质土层钻进时,泥浆相对密度应控制在1.3-1.5,在砂层钻进时,成孔速度应控制在